
原标题:陕西省人民政府发布一批人事任免通知



2月6日,陕西省人民政府网站发布一批人事任免通知。
省委直属机关工委:
省政府2025年1月23日决定,聘任王山稳为陕西省人民政府参事。
陕西新华出版传媒集团有限责任公司:
省政府2025年1月23日决定,免去王欢院陕西新华出版传媒集团有限责任公司副董事长、董事职务。
同意王欢院不再担任陕西新华出版传媒集团有限责任公司总经理职务。
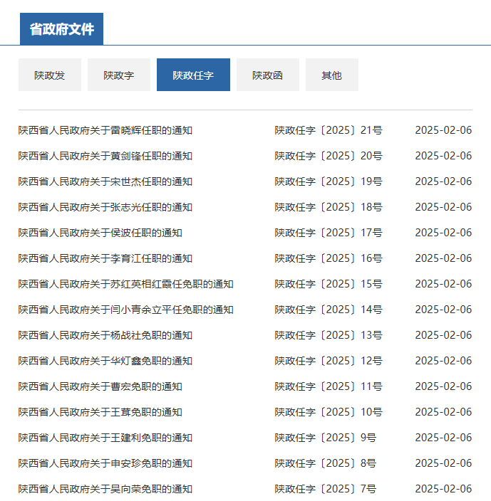
省农业农村厅:
省政府2025年1月23日决定,免去李育江陕西省农业农村厅副厅长职务。
省商务厅:
省政府2025年1月23日决定,免去郭绍敏陕西省商务厅副厅长职务。
省退役军人事务厅:
省政府2025年1月25日决定,免去吴向荣陕西省退役军人事务厅副厅长职务。
省机关事务服务中心:
省政府2025年1月23日决定,免去申安珍陕西省机关事务服务中心副主任职务。
陕西投资集团有限公司:
省政府2025年1月23日决定,免去王建利陕西投资集团有限公司董事职务。
陕西法士特汽车传动集团有限责任公司:
省政府2025年1月23日决定,免去王茸陕西法士特汽车传动集团有限责任公司董事职务。
长安银行股份有限公司:
省政府2025年1月23日研究,同意曹宏不再担任长安银行股份有限公司副行长职务。
西安理工大学:
省政府2025年1月23日决定,免去华灯鑫西安理工大学副校长职务。
西安石油大学:
省政府2025年1月23日决定,免去杨战社西安石油大学副校长职务。
省卫生健康委:
省政府2025年1月23日决定:
任命闫小青为陕西省中医药研究院(陕西省中医医院)副院长(试用期一年);
免去余立平陕西省卫生健康委员会副主任职务。
省医保局:
省政府2025年1月23日决定:
任命苏红英为陕西省医疗保障局局长;
免去相红霞陕西省医疗保障局局长职务。
省粮食和储备局:
省政府2025年1月23日决定,任命李育江为陕西省粮食和物资储备局局长。
省交通运输厅:
省政府2025年1月23日决定,任命侯波为陕西省交通运输厅副厅长(试用期一年)。
陕西电子信息集团有限公司:
省政府2025年1月23日研究,同意张志光为陕西电子信息集团有限公司总会计师人选。
陕西环保产业集团有限责任公司:
省政府2025年1月23日研究,同意宋世杰为陕西环保产业集团有限责任公司总经理人选。
陕西科技大学:
省政府2025年1月23日决定,任命黄剑锋为陕西科技大学校长(试用期一年)。
西安美术学院:
省政府2025年1月23日决定,任命雷晓辉为西安美术学院副院长(试用期一年)。